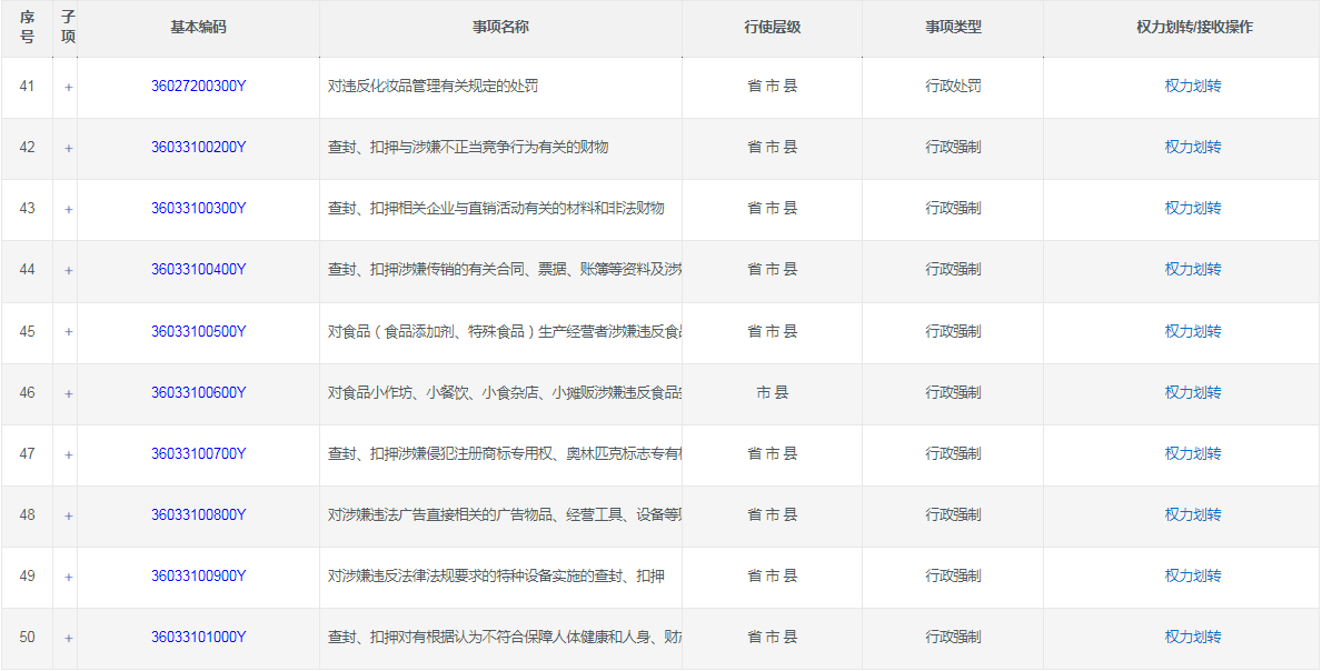
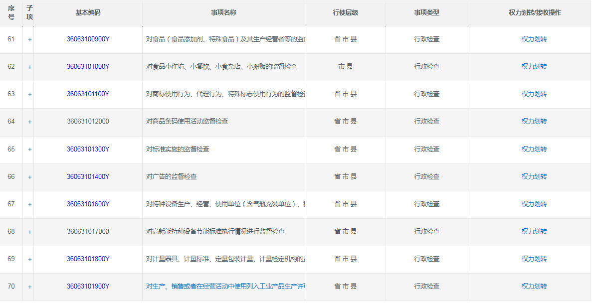
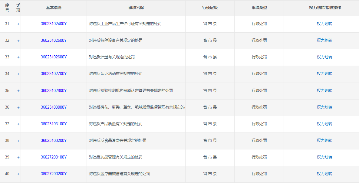
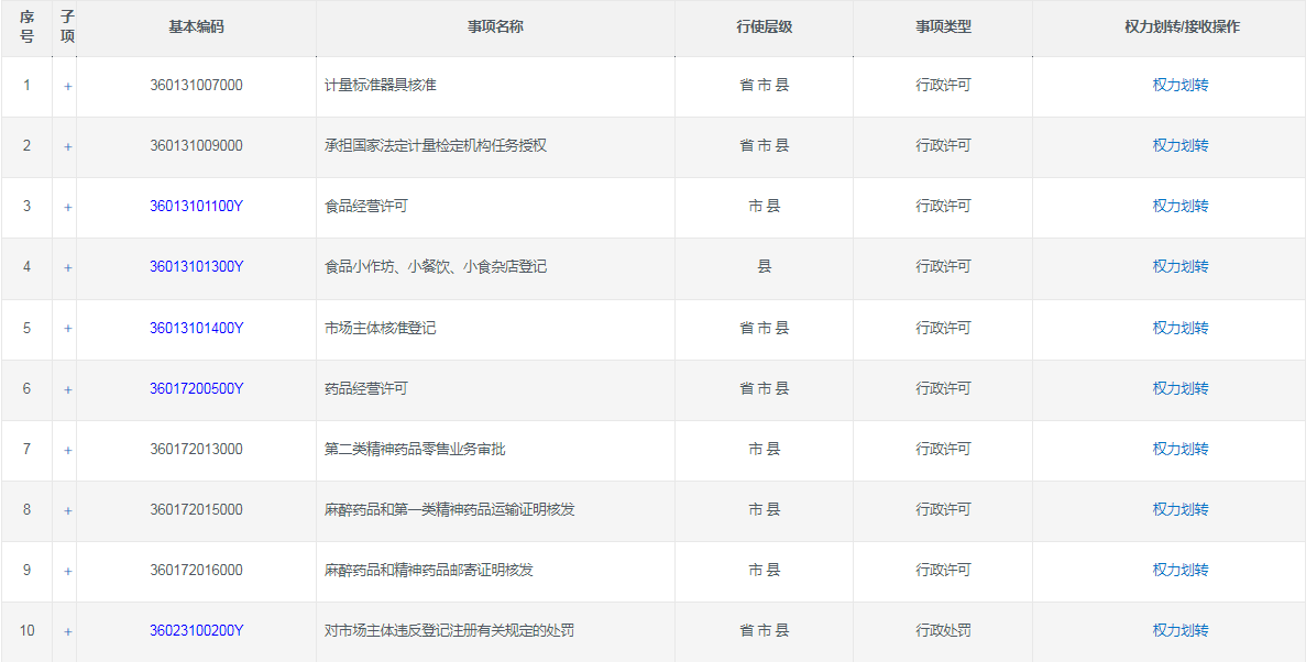
乐平市市场监督管理局行政权力清单(2022年8月)

信息来源: 乐平市市场监管局 发布日期: 2022-08-09 访问量:

相关文档:
相关附件:
关闭
打印

主办单位:乐平市人民政府承办单位:乐平市大数据中心ICP备案号:赣ICP15003826号-2

地址:江西省乐平市大连新区为民服务中心二楼 电话:0798-6568602 电子邮箱:lpic@jdz.gov.cn

政府网站标识码:3602810028 赣公网安备:36020002000383

江西乐平市政府版权所有